醫學檢驗怎能參加自考?
2023-05-01 來源:教育在線
醫學檢驗怎能參加自考?自考本科醫學檢驗專業可以直接登錄當地教育考試院官方網站進行報名。
點擊進入:自考有疑問、不知道如何選擇主考院校及專業、不清楚自考當地政策,點擊立即了解>>

醫學檢驗自考專業在一些地方是停考了,但部分省市還可以報考,比如山東、河南。
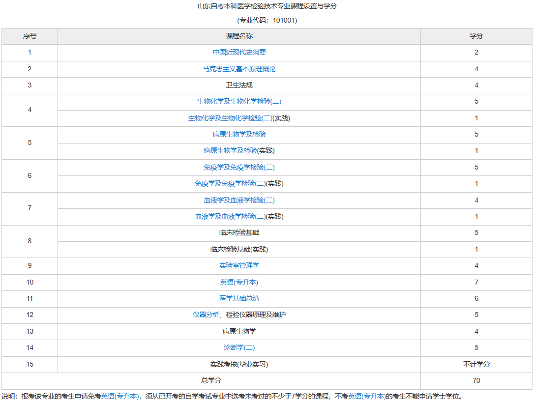
山東自考醫學檢驗技術專業

河南自考醫學檢驗技術專業

以上是關于成人自考的相關內容,考生想要獲得更多關于自考的相關資訊,如成人自考報名時間、考試時間、報考條件、備考知識、相關新聞等,敬請關注教育在線自考考試頻道。
熱門推薦:
自考有疑問、不知道如何選擇主考院校及專業、不清楚自考當地政策,點擊立即了解>>
推薦閱讀:

· 











